全部服务分类
  • 商标注册1专区

  • 申请商标专区

  • 商标套餐专区

  • 白酒商标转让专区

  • 商标转让专区

  • 版权登记专区

  • 城市商标注册专区

  • 中国商标转让专区

more

商标法案例:ofo被诉商标侵权索赔300万!

*截止 ,共有人阅读了本文。

推荐阅读:商标法案例:ofo被诉商标


  两个月前,小黄车在北京开了一个主题日活动,活动上不仅宣布了将使用花费百万美金买来的域名ofo.com,还将“ofo共享单车”直接改名为ofo小黄车,按官方的说法,“小黄车”是用户赋予的名字。然而自从主题日活动完了之后小黄车就没遇上啥好事。这不,小黄车又摊上大事了。且听大掌柜为您娓娓道来这起典型的。

商标法案例:ofo被诉商标侵权索赔300万!

  先是11岁男孩偷骑小黄车被撞身亡,父母向公司小黄车索赔878万。如今又被“小黄车”商标的所有人起诉商标侵权,原告要求小黄车赔偿300万元。昨日海淀人民法院受理了此案。

  小黄车竟然被“小黄车”给告了?


商标法案例:ofo被诉商标侵权索赔300万!

商标法案例:ofo被诉商标侵权索赔300万!


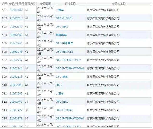
  我们可以看到,原告注册的两类中,并没有涉及到跟自行车相关的业务,而小黄车也在2015年就注册了涉及相关业务的商标,为什么还会被告侵权呢?


商标法案例:ofo被诉商标侵权索赔300万!


  原告数人智能科技有限公司(公司原名“咔扑(上海)网络科技有限公司),也就是小黄车商标的所有人认为被告ofo未经许可,在app、官方广告、宣传、活动中多次使用“ofo小黄车”,使得公众均认为“小黄车”指代ofo,割裂了“小黄车”与原告之间的联系,且ofo使用的商标之商品与服务类别与原告核准的注册的商品与服务类别相同,容易导致混淆。原告请求法院判定被告擅自在相同的商品和服务上使用与原告商标近似的商标的行为构成商标侵权,立即停止侵权行为,并赔偿经济损失300余万元等。

  我们从原告的请求中可以看出,这次ofo被告侵权,主要原因之一是ofo在app和官网上大量使用了“小黄车”商标,这就有可能涉及到35类和第9类的范围,构成商标法意义上的使用。

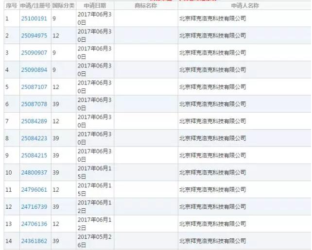
  ofo此次被告商标侵权,暴露出了ofo对于商标意识的匮乏和短视,虽然在投入运营的四个月后就注册了与业务对应的商标类别。但是竟然一直拖到了2016年10月,才陆续将“小黄车”和“小黄车ofo”进行多类别注册。


商标法案例:ofo被诉商标侵权索赔300万!

商标法案例:ofo被诉商标侵权索赔300万!

  这种亡羊补牢的做法,究竟能够挽回多少不得而知。而此次的ofo可以说是当下很多企业的一个缩影,在建立企业初期没能做好对企业商标品牌的布局保护,直到企业发展壮大,随之而来的是一连串扯不清的官司。

  在此大掌柜也衷心提醒各位朋友,前车之鉴,后车之师,企业的发展一定要重视对商标的保护和战略布局!全品类商标注册,就上一品标局。更多商标法案例请关注一品标局商标法案例专题。相关阅读:


上一篇:注册一个服装商标多少钱?
下一篇:乔丹商标争议再起波澜:中国乔丹状告美国乔丹


亿佰倍懂商标官方微信

欢迎关注亿佰倍懂

亿佰倍懂 微信号:K58158

热门TAGS


购买上海商标 商标复审 商标撤三答辩 商标驳回复审 国际商标驳回 知名商标转让 白酒商标网 19类商标转让 18类商标转让 17类商标转让 16类商标转让 15类商标转让 14类商标转让 13类商标转让 11类商标转让 12类商标转让 10类商标转让 9类商标转让 8类商标转让 7类商标转让 6类商标转让 5类商标转让 4类商标转让 3类商标转让 2类商标转让 1类商标转让 T恤商标转让 红酒商标转让 黄酒商标转让 水饺商标转让 糖果商标转让 闲置商标转让 商标购买网站 月饼商标转让 购买月饼商标 购买牛奶商标 牛奶商标转让 购买餐饮商标 餐饮商标转让 啤酒商标转让 购买啤酒商标 购买酒类品牌 酒类品牌转让 购买饮料商标 饮料商标转让 食品商标转让 购买食品商标 购买镀膜商标 镀膜商标转让 机油商标转让 购买机油商标 头枕商标转让 购买头枕商标 车衣商标转让 购买车衣商标 购买车贴商标 车贴商标转让 凉垫商标转让 睡袋商标转让 包子商标转让

联系方式

【商标网】
企业QQ:1728988888
手机: 18211558558
官方微信:K58158
广东(总部)北京(分部)深圳(分部)