全部服务分类
  • 商标注册1专区

  • 申请商标专区

  • 商标套餐专区

  • 白酒商标转让专区

  • 商标转让专区

  • 版权登记专区

  • 城市商标注册专区

  • 中国商标转让专区

more

今日头条申请大量金融商标,这是要进军金融领

*截止 ,共有人阅读了本文。

推荐阅读:今日头条申请大量金融商


  流量巨头在考虑流量变现的时候,金融业务,尤其是消费信贷业务,正成为他们的绝招,此前的美团、滴滴、甚至ofo均是如此。

  今日头条申请大量金融

  近日,今日头条母公司北京字节跳动科技有限公司因申请了大量与金融业务相关的商标,被曝要进军金融领域。

今日头条申请大量金融商标,这是要进军金融领域了?

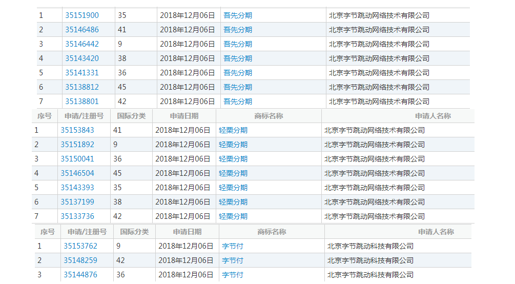
  根据中国商标网查询,这些商标分别是吾先分期、轻栗分期、字节付,其中像第36类、42类与金融、保险、不动产相关的商标都被申请注册了,因此不难看出今日头条想要进军金融领域的决心。

  从品牌保护的角度来说,今日头条在申请大量商标的时候,似乎忘记保护域名了,相关域名无一在手,像“吾先分期”wuxianfenqi.com/.com.cn/.cn均在前几天被抢注了,“轻栗分期”域名qinglifenqi.com/.cn/.com.cn也是在前几天被抢注的,“字节付”全套主流域名zijiefu.com/.com.cn/.cn/.net在前几天也被注册光了,米友的敏感性真的是相当高。

今日头条申请大量金融商标,这是要进军金融领域了?

  试水金融,今日头条早已有之

  其实,今日头条想要进军金融的想法早已有之,这一年多时间,他都在布局金融业务,像消费信贷、保险等,今年7月分,今日头条还上线了现金贷产品“放心借”。

  坐拥6亿用户、1.2亿日活量,头条的变现的渠道除了常规的广告收入以外,金融自然是个好选择。更何况互联网金融在经历这几年的飞速发展之后,市场和商业模式已经很成熟了,现如今直接考虑流量变现应该是今日头条毕竟重视的问题。

  金融这款香饽饽一直都是互联网巨头角逐的领地,老牌的BAT巨头,新兴的TMD中的美团、滴滴也都在布局金融,并且还在支付、小贷方面取得金融牌照,这也给了今日头条很大的压力。

  没有金融牌照,今日头条恐难圆梦

  尽管,头条在进军金融领域上也是雄心勃勃,但是没有金融牌照成为要命的事。互联网金融在经过频繁的暴雷之后,目前一直处于专项整治阶段,监管很严,如果没有金融牌照则属于非法运营。

  但是现在金融牌照已经成为稀缺资源,此前滴滴出行曾豪掷4.3亿元全资收购一九付,以曲线获得支付牌照,甚至放出“只要牌照,不要业务”。金融牌照获取异常困难,所以今日头条要想圆金融梦,还是有很长的道路要走。


上一篇:申请注册多个“即影”商标,知乎即将推出短视
下一篇:保护版权!人人有责!刚破十亿,《流浪地球》


亿佰倍懂商标官方微信

欢迎关注亿佰倍懂

亿佰倍懂 微信号:K58158

热门TAGS


购买上海商标 商标复审 商标撤三答辩 商标驳回复审 国际商标驳回 知名商标转让 白酒商标网 19类商标转让 18类商标转让 17类商标转让 16类商标转让 15类商标转让 14类商标转让 13类商标转让 11类商标转让 12类商标转让 10类商标转让 9类商标转让 8类商标转让 7类商标转让 6类商标转让 5类商标转让 4类商标转让 3类商标转让 2类商标转让 1类商标转让 T恤商标转让 红酒商标转让 黄酒商标转让 水饺商标转让 糖果商标转让 闲置商标转让 商标购买网站 月饼商标转让 购买月饼商标 购买牛奶商标 牛奶商标转让 购买餐饮商标 餐饮商标转让 啤酒商标转让 购买啤酒商标 购买酒类品牌 酒类品牌转让 购买饮料商标 饮料商标转让 食品商标转让 购买食品商标 购买镀膜商标 镀膜商标转让 机油商标转让 购买机油商标 头枕商标转让 购买头枕商标 车衣商标转让 购买车衣商标 购买车贴商标 车贴商标转让 凉垫商标转让 睡袋商标转让 包子商标转让

联系方式

【商标网】
企业QQ:1728988888
手机: 18211558558
官方微信:K58158
广东(总部)北京(分部)深圳(分部)