又一个郑渊洁笔下童话人物被抢注!
大灰狼“罗克”是郑渊洁在2012年创作的经典人物形象,与皮皮鲁、鲁西西、舒克贝塔共同影响了一代又一代的中国孩子。

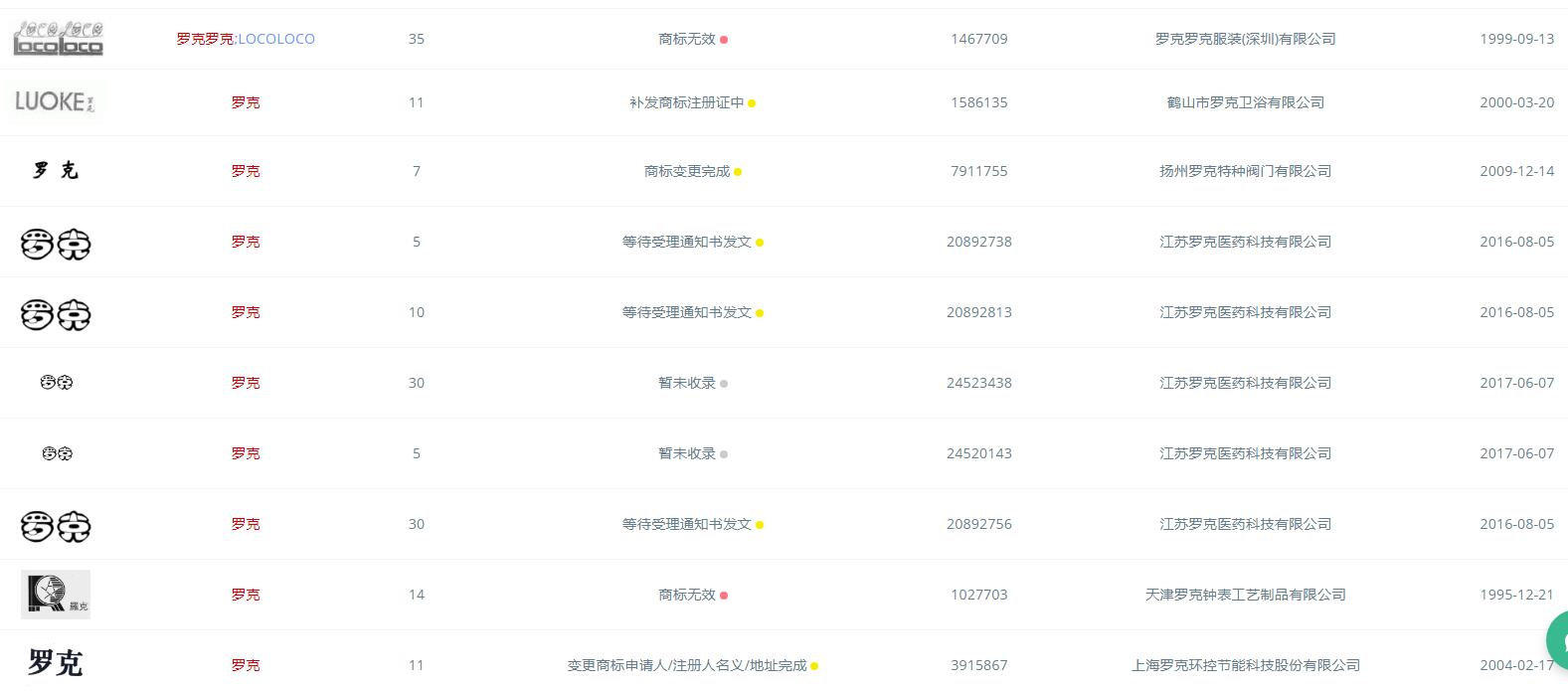
与“罗克”有关的商标有不少被企业抢注了,其中就包括了江苏罗克医药科技有限公司。

该公司在2016年~2017年期间申请多件“罗克”商标,其中第30类注册号为24523438的“罗克”已经被驳回了。

国家知识产权局认为,“罗克”与郑渊洁创作的经典童话人物大灰狼“罗克”直接对应,这一人物已经在市场形成一定的知名度,郑渊洁作为创作者,拥有在先权益,第24523438号“罗克”商标的注册已损害郑渊洁的在先权益,因此不予注册。
郑渊洁笔下除了有大灰狼“罗克”,还有皮皮鲁、鲁西西等其他经典童话人物,它们也不同程度地遭到抢注。
此前江苏还有一家医药公司,抢注了“舒克贝塔”商标,还注册了“南京舒克贝塔宠物用品有限公司”。郑渊洁向商评委提出无效宣告请求,还举报这家公司商号侵权。
他还曾花14年时间,将“郑州皮皮鲁西餐厅”恶意抢注的皮皮鲁商标宣告无效。
郑渊洁曾表示自己42年写作生涯有30年在维权,尽管如此,他仍没有放弃对知识产权的保护。
童话大王都这么看重商标,你还不重视起来?商标助力企业发展,为企业赋能,如果你还没有保护商标,那就来一品知识产权申请保护吧!
任何商标方面的需求,欢迎加VX:yipinweike9977 咨询~
便捷链接:继皮皮鲁、鲁西西后,又
本文来源:网络?买卖商标注册授权入驻“天猫”“京东”“拼多多”“抖音头条”“商标百科”
版权说明:上述为转载或编者观点,不代表亿佰倍懂商标意见,不承当任何法律责任
亿佰倍懂商标官方微信
欢迎关注亿佰倍懂
微信号:K58158 热门TAGS
购买上海商标 商标复审 商标撤三答辩 商标驳回复审 国际商标驳回 知名商标转让 白酒商标网 19类商标转让 18类商标转让 17类商标转让 16类商标转让 15类商标转让 14类商标转让 13类商标转让 11类商标转让 12类商标转让 10类商标转让 9类商标转让 8类商标转让 7类商标转让 6类商标转让 5类商标转让 4类商标转让 3类商标转让 2类商标转让 1类商标转让 T恤商标转让 红酒商标转让 黄酒商标转让 水饺商标转让 糖果商标转让 闲置商标转让 商标购买网站 月饼商标转让 购买月饼商标 购买牛奶商标 牛奶商标转让 购买餐饮商标 餐饮商标转让 啤酒商标转让 购买啤酒商标 购买酒类品牌 酒类品牌转让 购买饮料商标 饮料商标转让 食品商标转让 购买食品商标 购买镀膜商标 镀膜商标转让 机油商标转让 购买机油商标 头枕商标转让 购买头枕商标 车衣商标转让 购买车衣商标 购买车贴商标 车贴商标转让 凉垫商标转让 睡袋商标转让 包子商标转让
联系方式
【商标网】
企业QQ:1728988888
手机: 18211558558
官方微信:K58158
广东(总部)北京(分部)深圳(分部)

*截止
,共有人阅读了本文。


40
加工服务