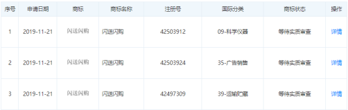
闪送经营实体北京同城必应科技有限公司近日已申请注册广告销售、科学仪器和运输贮藏三类的“闪送闪购”商标。

天眼查信息显示,目前注册带有“闪购”一词的商标有京东的“京东闪购”、国美的“国美闪购”、唯品会的“唯品会闪购”以及美团的“美团闪购”等。
然而,京东等电商平台的“闪购”与美团的意义不同。闪购最初是电商平台通过促销手段让用户快速下单的一种模式。去年,美团注册“美团闪购”,并在几个月后推出“美团闪购”平台后,这一概念被重新定义为配送时间快。
去年7月,美团平台上线了美团闪购平台,涵盖超市便利、生鲜果蔬、鲜花绿植等众多品类,主打“30分钟配送上门,24小时无间断配送”的服务定位,配送速度比肩闪送,快过淘宝的淘鲜达、每日优鲜等电商平台。
一年以来,美团闪购联合屈臣氏、7-11等便利店甚至菜市场,在美妆、零食和生鲜等细分市场进行了更加深入的布局;同时建立无人微仓,实现全天24小时自动分拣发货。今年,美团点评的三季报显示,美团闪购的鲜花及医药等高客单价品类继续实现强劲增长。

美团在闪购平台的不断深入的布局,似乎为闪送在电商领域的布局提供了新思路。
从注册时间来看,闪送注册闪购商标是在今年11月21日。而同月,美团闪购首次开展了“闪购狂欢节”,在双十一前后,抓住用户焦急等待心理,以促销活动分得电商平台一杯羹,另外,还首次发布了城市夜零售指数,有媒体报道,今年10月,美团闪购接到最贵的订单高达22625元。
高客单价以及解决用户等待快递痛点的方案,无论是对布局新零售的电商平台,还是力图在同城急送业务不断深耕的闪送来说,都有一定的吸引力。
此前,记者了解到,该公司从2018年起,已经申请了“闪送海淘”、“闪送生鲜”和“闪送同城购”等商标,疑似进军电商领域,但是闪送相关人员表示,没有听说公司药布局自营电商业务。
也有相关人士表示,闪购似乎意在做积分商城。闪送目前已经上线了积分商城,但是上线的多为优惠券、学习平台的会员卡以及电影票等虚拟产品,均与“同城”和“闪购”概念无关。
从闪送的模式来看,主要集中在C to C的急送,B to C则集中分布在鲜花、蛋糕等商户,美团闪购业务负责人美团点评高级副总裁王莆中此前在接受媒体采访时曾表示,“美团闪购希望做到半小时内‘万物到家’”。
如果对于商标问题有任何疑问,欢迎前来咨询,我们可以为您提供专业的指导性意见。欢迎关注一品知识产权 网
上一篇:寻人找人公司成功注册“私家侦探”商标
下一篇:醉牛,第39类商标转让详情介绍
便捷链接:闪送注册“闪购”商标,
本文来源:网络?买卖商标注册授权入驻“天猫”“京东”“拼多多”“抖音头条”“商标百科”
版权说明:上述为转载或编者观点,不代表亿佰倍懂商标意见,不承当任何法律责任
亿佰倍懂商标官方微信
欢迎关注亿佰倍懂
微信号:K58158 热门TAGS
购买上海商标 商标复审 商标撤三答辩 商标驳回复审 国际商标驳回 知名商标转让 白酒商标网 19类商标转让 18类商标转让 17类商标转让 16类商标转让 15类商标转让 14类商标转让 13类商标转让 11类商标转让 12类商标转让 10类商标转让 9类商标转让 8类商标转让 7类商标转让 6类商标转让 5类商标转让 4类商标转让 3类商标转让 2类商标转让 1类商标转让 T恤商标转让 红酒商标转让 黄酒商标转让 水饺商标转让 糖果商标转让 闲置商标转让 商标购买网站 月饼商标转让 购买月饼商标 购买牛奶商标 牛奶商标转让 购买餐饮商标 餐饮商标转让 啤酒商标转让 购买啤酒商标 购买酒类品牌 酒类品牌转让 购买饮料商标 饮料商标转让 食品商标转让 购买食品商标 购买镀膜商标 镀膜商标转让 机油商标转让 购买机油商标 头枕商标转让 购买头枕商标 车衣商标转让 购买车衣商标 购买车贴商标 车贴商标转让 凉垫商标转让 睡袋商标转让 包子商标转让
联系方式
【商标网】
企业QQ:1728988888
手机: 18211558558
官方微信:K58158
广东(总部)北京(分部)深圳(分部)

*截止
,共有人阅读了本文。


40
加工服务