热词也许会迟到,但永远会到。
又到了一年一度盘点热词的时候,12月2日,国家语言资源监测与研究中心发布了“2019年度十大网络用语”。
继去年的锦鲤、杠精、skr、佛系、确认过眼神、官宣、C位、土味情话、皮一下、燃烧我的卡路里引发了抢注热潮,今年的热词又将给商标注册人什么启发?看看今年这些热词都被谁注册成商标?
热门抢注系列
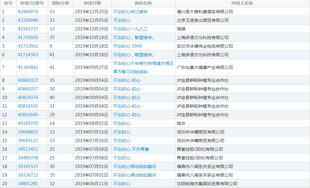
不忘初心
不忘初心是习近平总书记在党的十九大报告中庄严宣告:“中国共产党人的初心和使命,就是为中国人民谋幸福,为中华民族谋复兴。”
根据,包含“不忘初心”的商标被申请注册了190次,包括“不忘初心牢记使命”、“不忘初心一九八三”、“不忘初心 不负青春”、“不忘初心 砥砺前行”等,但只有25件注册成功。

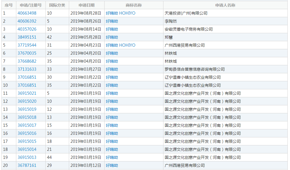
好嗨呦
来源于同名网络歌曲,经过短视频达人改编并配合十分魔性的表演,引得许多人模仿,用于表达很高兴和兴奋的状态。
根据查询,“好嗨呦”相关商标被申请注册了68次,而相近的”好嗨哟“相关的商标也被申请了85次。

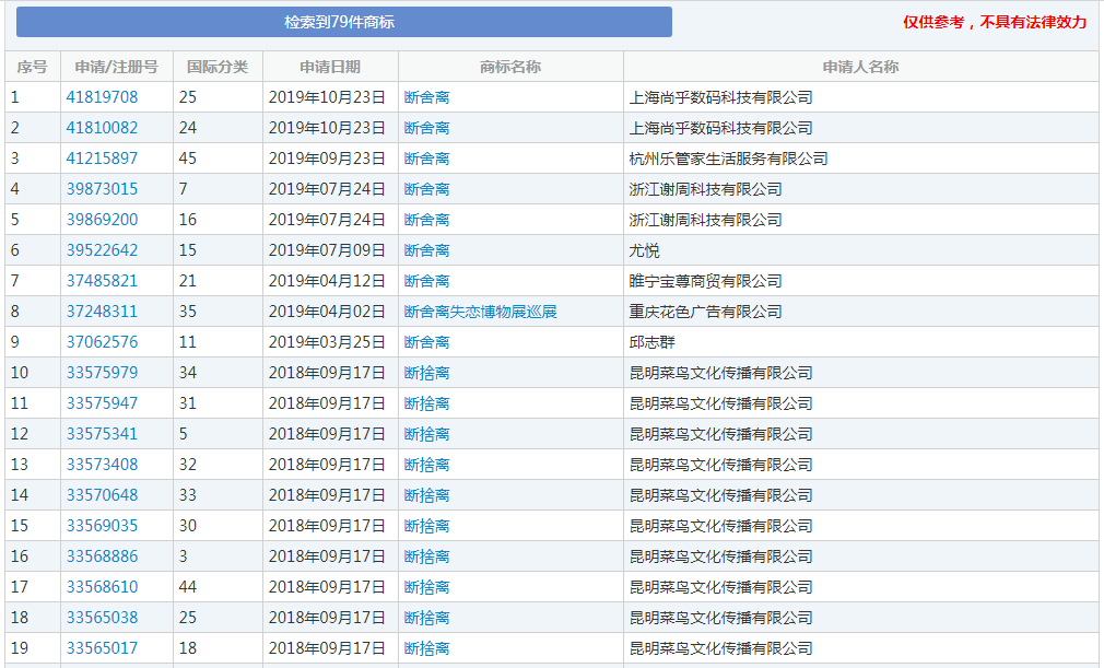
断舍离
断舍离一种生活态度,意思是把那些不必需、不合适、过时的东西统统断绝、舍弃,并切断对它们的眷恋,“断舍离”之后才能过简单清爽的生活。这个词在以前就有了,只不过今年被提起频率格外高。
根据查询,该词被申请注册了79次。

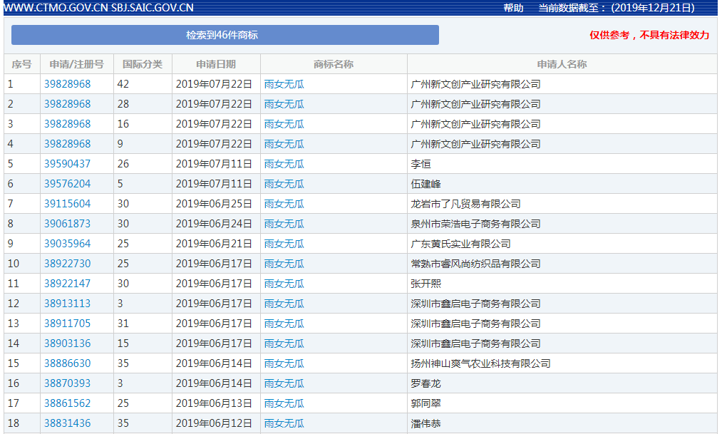
雨女无瓜
这个词出自电视剧《巴啦啦小魔仙》,是 “与你无关”的谐音,剧中游乐王子说话带点口音,说话发音都被网友弄成了谐音梗了。
根据商标网查询,“雨女无瓜”商标被申请注册了46次,大家纷纷未对这个词进行修改。

无人问津系列
道路千万条,安全第一条
这句话出自2019年热门电影《流浪地球》,“道路千万条,安全第一条,行车不规范,亲人两行泪”,因为太过魔性,因此引发了一波讨论热潮,网友们纷纷改编引用。
是个狼人
是个狼人由“是个狠人”演变而来的,意思是“比狠人再狠‘一点’”。通常用来调侃某人做事不按常理出牌,却又能取得奇效,给人一种出乎意外的很厉害的感觉。

14亿护旗手
面对有暴徒在香港把国旗丢进海中的暴行,央视新闻当天发布微博话题“五星红旗有14亿护旗手”并置顶,网友们纷纷留言、刷屏转发,表达热爱祖国、护卫国旗的真挚感情。
而以上三个词都无人抢注。
偶有注册系列
柠檬精
表达对他人或外貌或才华,或物质条件或情感生活等各方面的羡慕。
根据查询,“柠檬精”相关的商标被申请注册了19次,但只有7件“柠檬精”商标才是柠檬精本意,且都还未注册成功。

网易可还行?
996
996工作制是一种违反《中华人民共和国劳动法》的延长法定工作时间的工作制度,指的是早上9点上班、晚上9点下班,中午和傍晚休息1小时(或不到),总计工作10小时以上,并且一周工作6天的工作制度,代表着中国互联网企业盛行的加班文化。
根据查询,“996”相关的商标被申请注册了84次,“九九六”相关商标共被申请注册了9次,另外发现网易旗下的一间公司也参与其中。

要知道,关于996相关的话题也持续热了一段时间,而前阵子,网易被爆出辞退患病员工的事情,996又迎来一波讨论热潮。不过网易的“996”和大众熟知的“996”是不是同一个含义,就不得而知了。
网络热词能不能注册成商标
随着商标注册便利化的推进,商标注册量急剧增加,自然词汇也被注册得差不多了,如今注册商标大多是自组词汇或者无意义的字母组合等等。虽然自然词组一直在减少,但是随着时代的发展,又有越来越多的词汇在被创造出来,那就是网络热词。
网络热词通常自带流量,具备传播范围广、传播速度快的特性。如果企业懂得借势营销,恰到好处的利用网络热词的力量,不仅推广力度大,而且宣传费用少,对企业起到事半功倍的效果,以至于很多企业或个人热爱将网络热词注册商标的。
但是,网络词汇可不是什么都能注册,注册网络词汇要注意不良影响和显著性。很多词汇虽然热门,但是不代表它就是正能量,也不代表可以随意注册到任何类别。
此外,每当有热词出现,想要注册商标的也肯定不止你一人,不过跟风谁都会,但是跟风跟的有水平才是最后的赢家。热词固然竞争激烈,但是紧跟这个思路,时常关注一些热门、新鲜的事情,依然可以留意到一些具有时代意义的热门单字。
其实,比起注册难,如何将商标的知名度和影响力培养起来才是对企业最大的考验。除了付出汗水,脚踏实地以外,没有捷径可走。“热词”商标的确会带来新鲜感和好奇心,但是商家们还是更应该回归本质,在产品上下功夫。
上一篇:指甲钳属于商标哪一类
下一篇:第16类商标转让推荐及转让需要注意哪些细节?
便捷链接:网易申请注册“996”商标
本文来源:网络?买卖商标注册授权入驻“天猫”“京东”“拼多多”“抖音头条”“商标百科”
版权说明:上述为转载或编者观点,不代表亿佰倍懂商标意见,不承当任何法律责任
亿佰倍懂商标官方微信
欢迎关注亿佰倍懂
微信号:K58158 热门TAGS
购买上海商标 商标复审 商标撤三答辩 商标驳回复审 国际商标驳回 知名商标转让 白酒商标网 19类商标转让 18类商标转让 17类商标转让 16类商标转让 15类商标转让 14类商标转让 13类商标转让 11类商标转让 12类商标转让 10类商标转让 9类商标转让 8类商标转让 7类商标转让 6类商标转让 5类商标转让 4类商标转让 3类商标转让 2类商标转让 1类商标转让 T恤商标转让 红酒商标转让 黄酒商标转让 水饺商标转让 糖果商标转让 闲置商标转让 商标购买网站 月饼商标转让 购买月饼商标 购买牛奶商标 牛奶商标转让 购买餐饮商标 餐饮商标转让 啤酒商标转让 购买啤酒商标 购买酒类品牌 酒类品牌转让 购买饮料商标 饮料商标转让 食品商标转让 购买食品商标 购买镀膜商标 镀膜商标转让 机油商标转让 购买机油商标 头枕商标转让 购买头枕商标 车衣商标转让 购买车衣商标 购买车贴商标 车贴商标转让 凉垫商标转让 睡袋商标转让 包子商标转让
联系方式
【商标网】
企业QQ:1728988888
手机: 18211558558
官方微信:K58158
广东(总部)北京(分部)深圳(分部)

*截止
,共有人阅读了本文。


40
加工服务