全部服务分类
  • 商标注册1专区

  • 申请商标专区

  • 商标套餐专区

  • 白酒商标转让专区

  • 商标转让专区

  • 版权登记专区

  • 城市商标注册专区

  • 中国商标转让专区

more

手机关机也能查找位置 Find My iPhone专利申请

*截止 ,共有人阅读了本文。

推荐阅读:手机关机也能查找位置


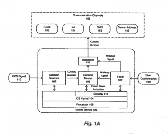
如果用户在iPhone上启用了密码或者指纹保护,那么在丢失或者被窃之后用户也能通过“Find My iPhone”功能找回。根据苹果公司近期获得的技术专利,哪怕iPhone处于关机状态用户也能激活“Find My iPhone”功能,以便于用户更容易定位被窃手机的位置。

首先,Find My iPhone功能允许机主通过iCloud帐号来定位手机,不过当手机处于关机状态且SIM卡移除的情况下是无法执行追踪的。不过在最近的专利中苹果申请了高级版Find My iPhone功能,不管手机当前处于什么状态用户都能进行定位。

根据专利描述,iPhone内部将会启动专用的计时器,每隔一段时间自动打开Find My iPhone功能,向机主发送当前的位置信息。这项功能使用了无电力状态,对iPhone的续航不会产生太大的影响,所以哪怕在没电关机的情况下依然能够使用Find My iPhone功能。

一品标局http://www.epbiao.com/ 提供专业的法律商标资讯,可登入查阅更多知识产权新闻

温馨提示:文中部分图片来源于网络,版权属于原作者,侵删,谢谢!



上一篇:今日头条被诉商标侵权 遭索赔1亿余元
下一篇:集体商标管理和保护存在的问题以及建议


亿佰倍懂商标官方微信

欢迎关注亿佰倍懂

亿佰倍懂 微信号:K58158

热门TAGS


购买上海商标 商标复审 商标撤三答辩 商标驳回复审 国际商标驳回 知名商标转让 白酒商标网 19类商标转让 18类商标转让 17类商标转让 16类商标转让 15类商标转让 14类商标转让 13类商标转让 11类商标转让 12类商标转让 10类商标转让 9类商标转让 8类商标转让 7类商标转让 6类商标转让 5类商标转让 4类商标转让 3类商标转让 2类商标转让 1类商标转让 T恤商标转让 红酒商标转让 黄酒商标转让 水饺商标转让 糖果商标转让 闲置商标转让 商标购买网站 月饼商标转让 购买月饼商标 购买牛奶商标 牛奶商标转让 购买餐饮商标 餐饮商标转让 啤酒商标转让 购买啤酒商标 购买酒类品牌 酒类品牌转让 购买饮料商标 饮料商标转让 食品商标转让 购买食品商标 购买镀膜商标 镀膜商标转让 机油商标转让 购买机油商标 头枕商标转让 购买头枕商标 车衣商标转让 购买车衣商标 购买车贴商标 车贴商标转让 凉垫商标转让 睡袋商标转让 包子商标转让

联系方式

【商标网】
企业QQ:1728988888
手机: 18211558558
官方微信:K58158
广东(总部)北京(分部)深圳(分部)